大東海泵業無錫有限公司是一家專業的自吸式離心泵生產廠家。在客戶自吸式離心泵選型時,我公司水泵廠家會提供完善的自吸式離心泵型號、自吸式離心泵價格等售前服務,以供客戶參考,并且我水泵廠家能為客戶提供定制泵業產品的服務。本條產品資訊是關于自吸式離心泵各零部件在泵中具體位置在哪的知識:

常用的
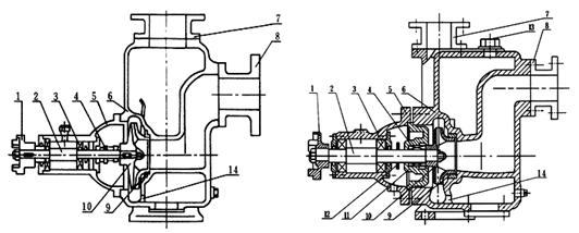
自吸式離心泵都是采用軸向回液的泵殼設計結構。自吸式
離心泵主要有吸水室、儲水腔、渦卷室、回流孔、氣水分離室等部件組成。
自吸離心泵工作原理如下:自吸離心泵運行以后,葉輪將預先灌入室儲水腔的水及從進口管道里面所抽的空氣一起吸入, 水和空氣在經過葉輪高速旋轉之后達到完全混合的效果,液體夾帶著氣體在離心力的作用之下向渦卷室外緣排出。液體夾帶著氣體通過擴散管進入氣水分離室。這時,因為水的流速突然降低,空氣是比水要輕的氣體會向上走,氣體就會從氣水混合物中被排離出來,空氣會通過各種自吸泵的排氣口及排水出口排出。分離了空氣之后的水回到儲水腔,再由回流孔再次回到葉輪的吸水端,再次與自吸離心泵進口管道中被葉輪吸入的空氣混合在一起,在高速旋轉的葉輪作用下,又流向葉輪外緣。隨著這個過程來回往復的地進行下去,自吸離心泵進口管道中的空氣不斷排出減少,一直到最后排盡進口管道的空氣,形成一定負壓之后水會逐漸由水池被提升到泵體里面來,這樣就完成了自吸過程,自吸離心泵抽上來水之后就能正常出水。以上就是自吸離心泵的工作原理。
自吸
離心泵的軸承體底部還可以設冷卻室來冷卻軸承,如果軸承因為安裝使用上面的緣故導致軸承體發熱溫度超過了70度時,可在這里接一根冷卻液管道,注入冷卻液循環冷卻。
|
1 |
聯軸器 |
2 |
泵軸 |
3 |
軸承 |
4 |
機械密封 |
5 |
軸承體 |
6 |
泵殼 |
7 |
出口座 |
|
8 |
進口座 |
9 |
前密封環 |
10 |
葉輪 |
11 |
后蓋 |
12 |
檔水圈 |
13 |
加液孔 |
14 |
回流孔 |
非常感謝您對大東海泵業無錫有限公司官方網站的訪問!以上是關于自吸式離心泵各零部件在泵中具體位置在哪的介紹,如您對此問題還想深一步了解,或有其他泵業產品、水泵選型、水泵型號、水泵價格的問題需要解答,請聯系本水泵廠家,大東海泵業還生產
潛水泵,隨時歡迎您的咨詢。謝謝!